车界地球
当前位置: 主页 > 车界热点 >   正文

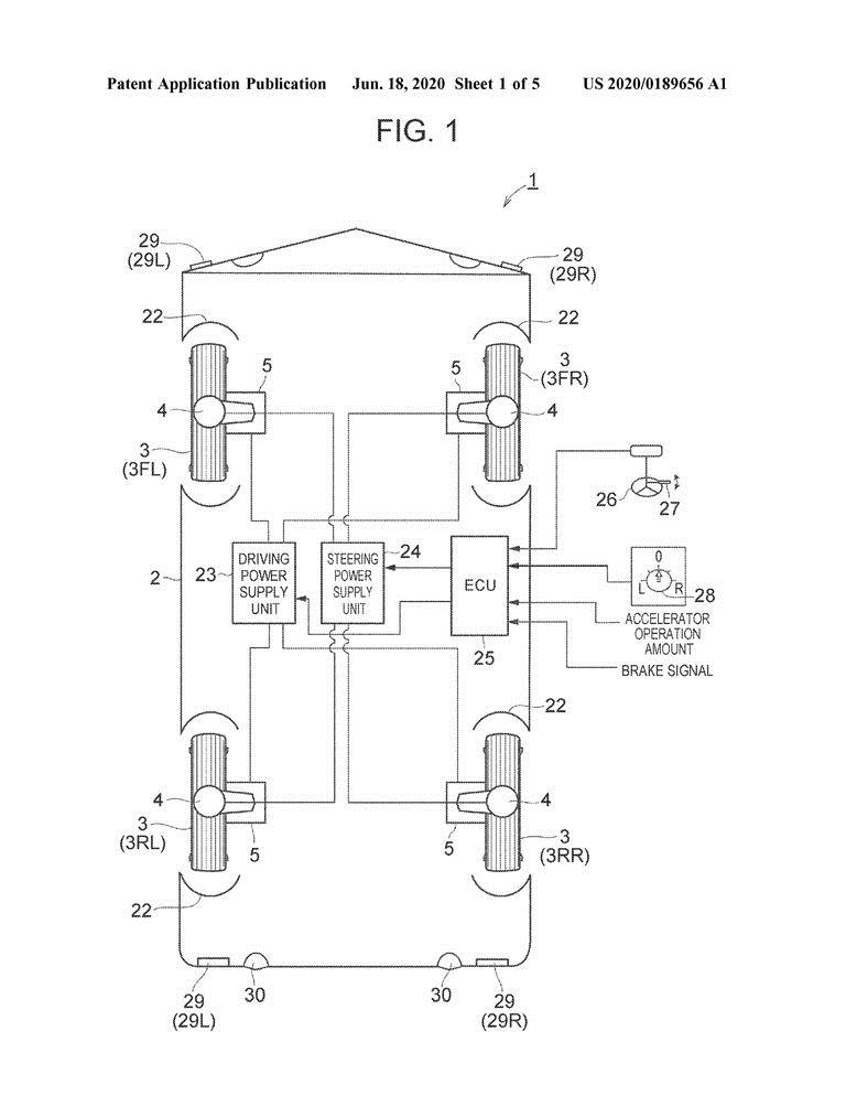
丰田申请“坦克转弯”专利 车轮可像“万向轮”一样旋转

车界地球讯 “坦克转弯”(tank turn)功能指的是,一辆汽车(或卡车)能够让一侧的两个轮子向前转动,另一侧的两个轮子向后转动,即像坦克一样,在原地转弯。电动汽车初创公司Rivian就曾公布其汽车将拥有该项功能,能够让车辆原地360旋转(戳Rivian展示“坦克转弯”功能 让卡车可以像坦克一样原地360转弯)。据外媒报道,丰田汽车也在研发该项功能。该公司已经向美国专利商标局申请了一项新功能,表明其汽车将具备此类功能。

(图片来源:gaadiwaadi.com)

据专利图显示,丰田汽车的所有4个车轮都以横向方式转动,实现零转弯半径甚至对角线运动,就像办公椅上的万向轮一样。每个车轮都与安装在车身内部的独立轮毂电机相连,专利图还展示了转向信号灯可以与车轮新的运动角度同步。

(图片来源:gaadiwaadi.com)

该专利文件展示了车辆的横向运动、斜向运动(有一定角度)和原地旋转以及需要什么样的指示来表明车辆的运动。其中写道:“车辆的平稳与安全运行是通过车辆与行人的协调移动来实现的,这建立在每辆车和每个行人的运动都是可预测的假设之上。”

专利文件还表示:“由于车辆的横向运动、原地旋转和有角度的直线运动都是以前轮或后轮为方向盘的车辆所无法执行的,因此需要一种新型“声学或光学”信号,让附近的驾驶员和行人知道车辆接下来的动作。”

该专利提出了可能的解决方案,其中包括一个从驾驶舱伸出的传感器,当车轮转动角度为45或90度时,车辆会被照亮。此外,该专利还提出可以使用连续闪动的信号灯或弯曲的信号灯,以及短信或图像等来指示车轮的运动。

内容